
MIL-DTL-83513G
NOTES:
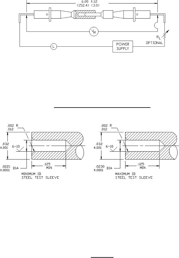
1. Voltage drop measurement connection points may be permanent connections and may be protected
by potting or equivalents means.
2. A 6.00 inch dimension is not applicable to group B inspection (see 3.1). Total resistance equals the
wire resistance plus the mated contact resistance.
3. Method of connection for printed circuit connectors is specified in 4.5.8.
4. Dimensions are in inches.
5. Metric equivalents are given for information only.
FIGURE 2. Test circuit for measurement of contact resistance.
Inches
mm
Inches
mm
.0001
0.0025
.0221
0.561
.001
0.03
.0230
0.584
.002
0.05
.032
0.81
.012
0.30
.125
3.18
NOTES:
1. Dimensions are in inches.
2. Metric equivalents are given for information only.
FIGURE 3. Test sleeve.
21
For Parts Inquires submit RFQ to Parts Hangar, Inc.
© Copyright 2015 Integrated Publishing, Inc.
A Service Disabled Veteran Owned Small Business