
MIL-PRF-39012E
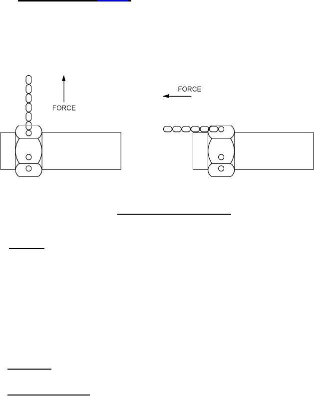
4.6.25 Safety wire hole pullout (see 3.32). A single strand of safety wire shall be looped through the
safety wire hole and secured to itself. Forces of 15 pounds (67 Newtons) minimum shall be applied
to the safety wire pulling away from the connector. One pull shall be parallel to the connector axis
and one pull perpendicular to the connector axis (see figure 9). The safety wire shall be corrosion
resistant steel .020 inch diameter (24 gauge) or .015 inch diameter, (27 gauge) in accordance with
NASM20995. This test is to be conducted under static conditions. All holes are to be tested
individually.
FIGURE 9. Safety wire hole pullout procedure.
5. PACKAGING
5.1 Packaging. For acquisition purposes, the packaging requirements shall be as specified in the
contract or order (see 6.2). When actual packaging of materiel is to be performed by DoD or in-
house contractor personnel, these personnel need to contact the responsible packaging activity to
ascertain packaging requirements. Packaging requirements are maintained by the Inventory Control
Point's packaging activities within the Military Service or Defense Agency, or within the Military
Service System Commands. Packaging data retrieval is available from the managing Military
Department's or Defense Agency's automated packaging files, CD-ROM products, or by contacting
the responsible packaging activity.
6. NOTES
(This section contains information of a general or explanatory nature that may be helpful, but is not
mandatory.)
6.1 Intended use. Connectors and fittings covered by this specification are intended for use in
radiofrequency application up to the frequency specified (see 3.1).
6.2 Acquisition requirements. Acquisition documents should specify the following:
a. Title, number, and date of this specification.
b. Title, number and date of the applicable detail specification.
30
For Parts Inquires submit RFQ to Parts Hangar, Inc.
© Copyright 2015 Integrated Publishing, Inc.
A Service Disabled Veteran Owned Small Business