emilspec
An Integrated Publishing, Inc. Site
eMilSpec
An Integrated Publishing Website
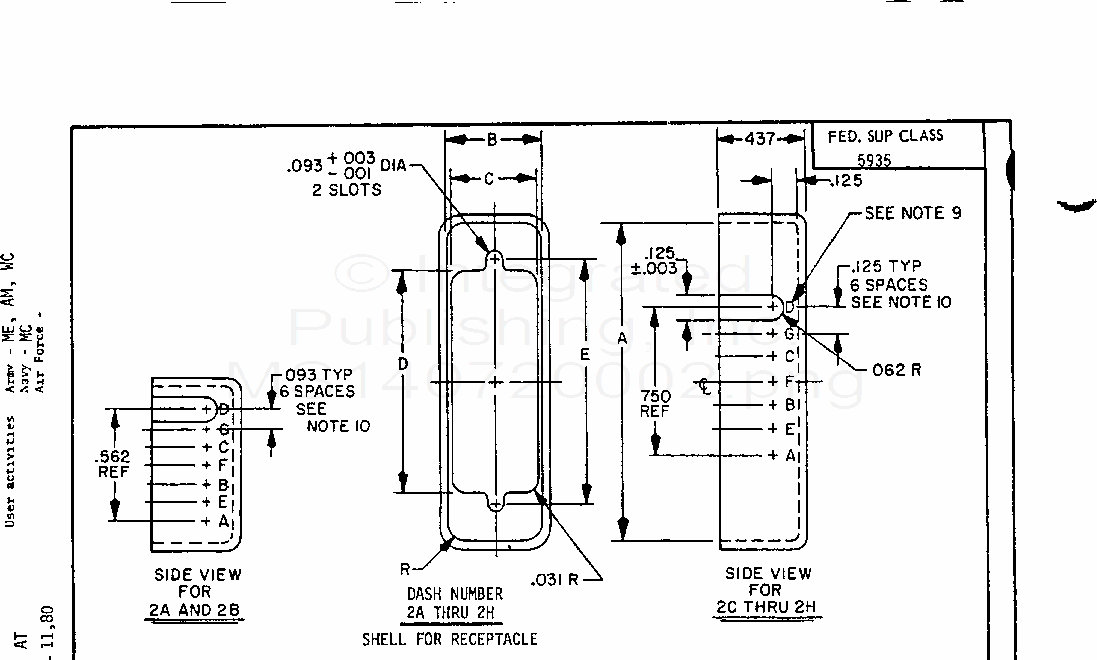
MS14072 Shell, Electrical Connector For 7, 9, 14, 20, 26, 34, 42, And 50 Contact Connectors (S/S By Mil-C-28748/7 Or Mil-C-28748/8)
For Parts Inquires submit RFQ to
Parts Hangar, Inc.
© Copyright 2015 Integrated Publishing, Inc.
A Service Disabled Veteran Owned Small Business