emilspec
An Integrated Publishing, Inc. Site
eMilSpec
An Integrated Publishing Website
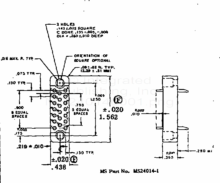
Connector, Rectangular, Electrical, Rack And Panel, 20, Size 20 Solder Pin Contacts (S/S By Mil-C-28748/5)
For Parts Inquires submit RFQ to
Parts Hangar, Inc.
© Copyright 2015 Integrated Publishing, Inc.
A Service Disabled Veteran Owned Small Business