emilspec
An Integrated Publishing, Inc. Site
eMilSpec
An Integrated Publishing Website
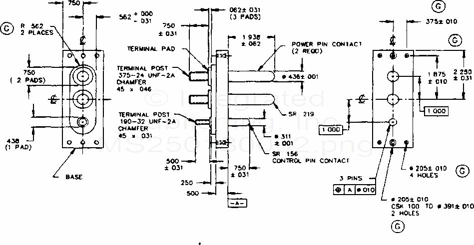
MS25018 Connector, Receptacle External Electric Power, Aircraft, 28 Volt Dc Jet Starting (S/S By Sae-As25018)
For Parts Inquires submit RFQ to
Parts Hangar, Inc.
© Copyright 2015 Integrated Publishing, Inc.
A Service Disabled Veteran Owned Small Business