emilspec
An Integrated Publishing, Inc. Site
eMilSpec
An Integrated Publishing Website
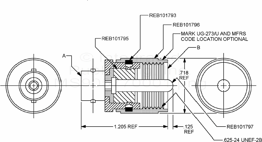
Adapter, Connector, Series Uhf To Series Bnc, Type Ug-273/U
For Parts Inquires submit RFQ to
Parts Hangar, Inc.
© Copyright 2015 Integrated Publishing, Inc.
A Service Disabled Veteran Owned Small Business