
MIL-DTL-24231/15E(SH)
C
L
0.219
0.219 (TYP)
(TYP)
C
L
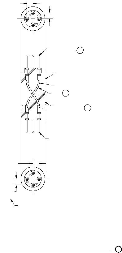
PIN, CONTACT
16
(8 REQD)
INSERT
SOLDER
WIRE 21
MOLDED EPOXY
20
RESIN
EACH PIN SHALL BE
CONNECTED TO ITS
MATCHING PIN NO.
ON OPPOSITE END.
C
L
0.219
(TYP)
C
L
0.219
(TYP)
NOTE: M24231/15-030 SIMILAR TO
M24231/15-020 EXCEPT AS SHOWN.
FIGURE 5. Assembly, insert, molded M24231/15-030 (4-conductor).
5
5
For Parts Inquires submit RFQ to Parts Hangar, Inc.
© Copyright 2015 Integrated Publishing, Inc.
A Service Disabled Veteran Owned Small Business