
MIL-DTL-24231/16E(SH)
FLANGE
M24231/16-040
0.164-32NC-2B
STAMP OR ENGRAVE
1
AS SHOWN AND FILL
1 HOLE 2 DEEP
M2
WITH WHITE ENAMEL
42
31
/
30°
Ø37
8
9
DRILL
16
(4 HOLES)
2.250-12UN-2B
Ø219 REF
6
7
REF
11
REF
8
16
Ø5.00 REF
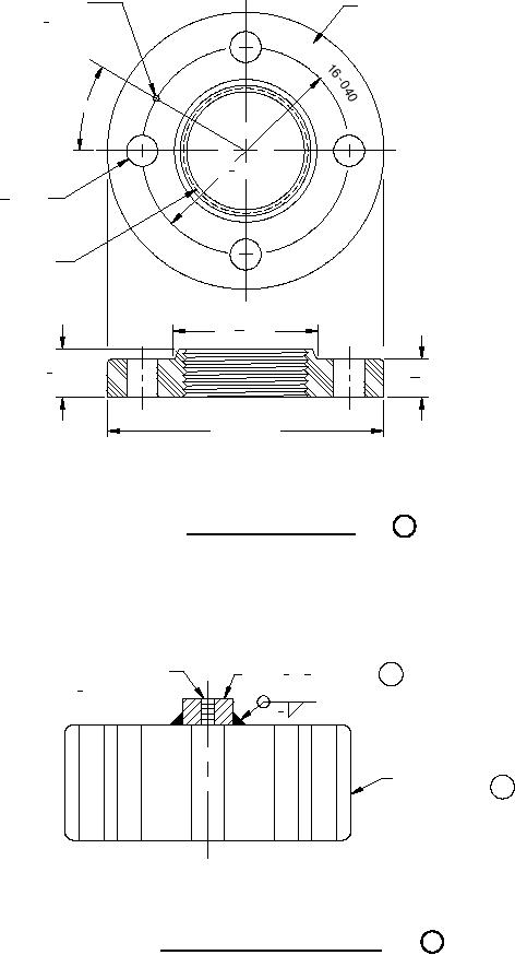
FIGURE 3. Flange M24231/16-040.
12
1
1
0.164-32NC-2B
5
PAD Ø2 X 4, NI-AL-BZ
1
4 DEEP
1
8
CAP
6
M24231/13-011
FIGURE 4. Assembly, cap M24231/16-030.
17
4
For Parts Inquires submit RFQ to Parts Hangar, Inc.
© Copyright 2015 Integrated Publishing, Inc.
A Service Disabled Veteran Owned Small Business