
MIL-DTL-24231/18E(SH)
11
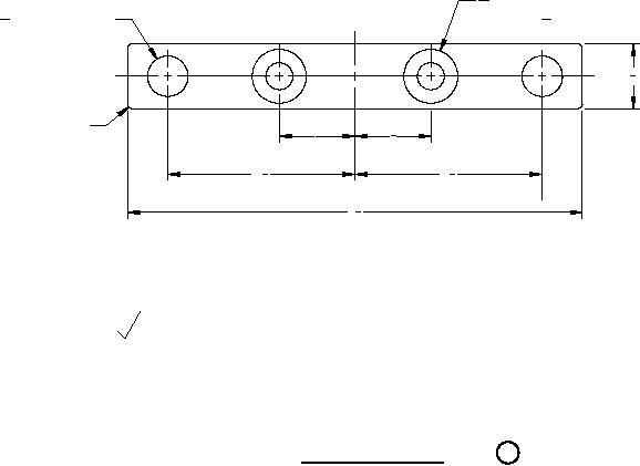
DRILL 2 HOLES
32
CSK FOR 15 FH SCREW
13
DRILL 2 HOLES
C
L
6
32
C
3
L
4
ROUNDOFF
7
7
8
8
1
1
24
24
1
52
125
FIGURE 3. Handle, 3/16-inch thick.
4
4
For Parts Inquires submit RFQ to Parts Hangar, Inc.
© Copyright 2015 Integrated Publishing, Inc.
A Service Disabled Veteran Owned Small Business