
MIL-DTL-24231/24E(SH)
ASSEMBLY, SINGLE CABLE CONNECTOR
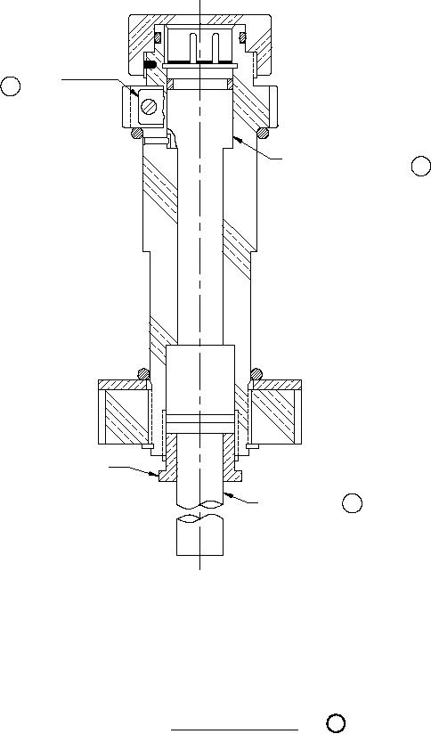
3 PIN, FOR THOF-9 CABLE
M24231/24-001 SYM. NO. 517.13
PLATE,
3
IDENTIFICATION
M24231/24-020
ASSEMBLY, INSERT,
2
MOLDED M24231/24-010
TIGHTEN DOWN
METAL TO METAL
CABLE, THOF-9 5
RECEPTACLE ASSEMBLY M24231/24-001 IS SIMILAR TO RECEPTACLE ASSEMBLY M24231/9-001,
EXCEPT INSERT ASSEMBLY M24231/9-010 IS REPLACED BY INSERT ASSEMBLY M24231/24-010.
SINGLE CABLE CONNECTOR ASSEMBLY SAME AS M24231/9-001
EXCEPT AS SHOWN
FIGURE 1. Connector, single cable.
1
2
For Parts Inquires submit RFQ to Parts Hangar, Inc.
© Copyright 2015 Integrated Publishing, Inc.
A Service Disabled Veteran Owned Small Business