
INCH-POUND
MIL-DTL-24308/33
1 April 2015
DETAIL SPECIFICATION SHEET
CONNECTORS, ELECTRIC, RECTANGULAR, MINIATURE,
COMBINATION INSERT ARRANGEMENT, PLUG, PIN CONTACTS, SHELL SIZE 3,
SIZE 20 SIGNAL CONTACTS AND SIZE 8 POWER AND SHIELDED,
CLASS G, M, N AND D
This specification is approved for use by all Departments and Agencies of the Department of Defense.
The requirements for acquiring the product described herein shall consist of this specification sheet and
MIL-DTL-24308.
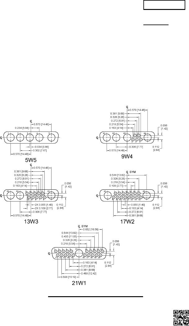
FIGURE 1. Insert arrangements, shell size 3, pin contacts
AMSC N/A
FSC 5935
For Parts Inquires submit RFQ to Parts Hangar, Inc.
© Copyright 2015 Integrated Publishing, Inc.
A Service Disabled Veteran Owned Small Business