
INCH-POUND
MIL-DTL-24308/8R
23 May 2014
SUPERSEDING
MIL-DTL-24308/8P
w/AMENDMENT 2
8 March 2013
DETAIL SPECIFICATION SHEET
CONNECTORS, ELECTRIC, RECTANGULAR, MINIATURE,
POLARIZED SHELL, RACK AND PANEL, PIN CONTACTS,
NONMAGNETIC, CLASS M AND N, CRIMP TYPE
This specification is approved for use by all Departments and Agencies of the Department of Defense.
The requirements for acquiring the product described herein shall consist of this specification sheet and
MIL-DTL-24308.
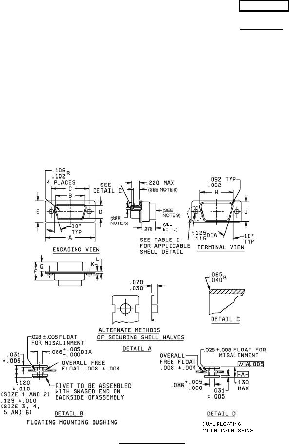
FIGURE 1. Shell, plug, crimp type.
AMSC N/A
FSC 5935
For Parts Inquires submit RFQ to Parts Hangar, Inc.
© Copyright 2015 Integrated Publishing, Inc.
A Service Disabled Veteran Owned Small Business