
MIL-DTL-2726/21B
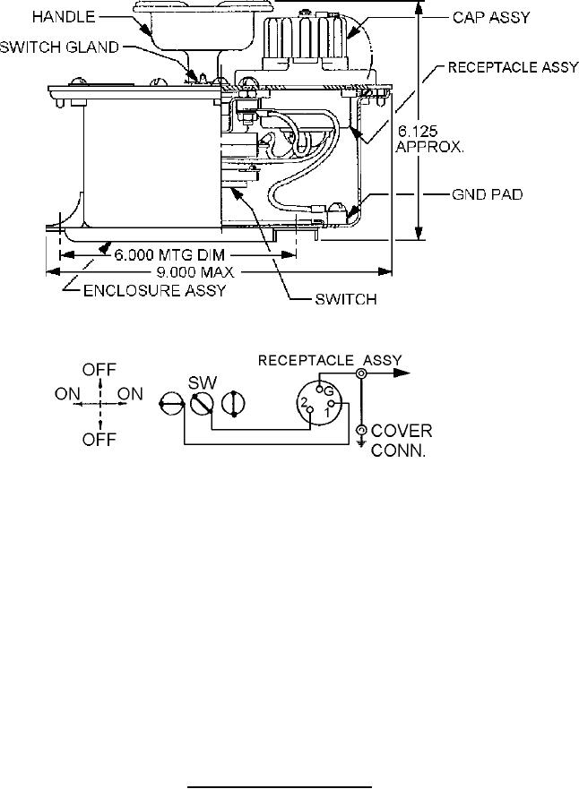
WIRING DIAGRAM
Inches
mm
5.250
133.35
6.000
152.40
155.57
6.125
9.000
228.60
NOTES:
1. Dimensions are in inches.
2. Metric equivalents are given for information only.
3. Unless otherwise specified, tolerances are ± .016 (0.41mm).
4. Supersedes: Drawing 815 - 1197066, symbol 917.
FIGURE 1. Dimensions and configurations - Continued.
2
For Parts Inquires submit RFQ to Parts Hangar, Inc.
© Copyright 2015 Integrated Publishing, Inc.
A Service Disabled Veteran Owned Small Business