
INCH-POUND
MIL-DTL-2726/30B
13 May 2005
SUPERSEDING
MIL-R-2726/30A(SH)
3 July 1986
DETAIL SPECIFICATION SHEET
RECEPTACLE, PLUG, ELECTRICAL, 10 - AMPERE, 125 VOLT, SINGLE POLE,
MALE (SYMBOL NO. 727.1 - RED; SYMBOL NO. 727.2 - BLACK)
Reactivated after 13 May 2005 and may be used for
new and existing designs and acquisitions.
This specification is approved for use by all Departments
and Agencies of the Department of Defense.
The requirements for acquiring the product described herein shall
consist of this specification sheet and MIL-DTL-2726.
SH 9108
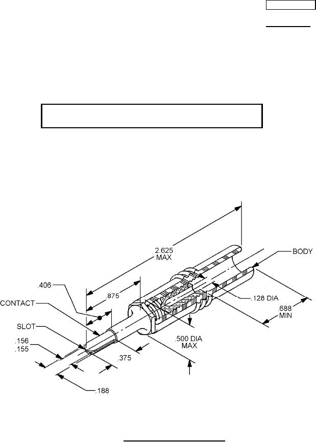
FIGURE 1. Dimensions and configuration.
AMSC N/A
FSC 5935
For Parts Inquires submit RFQ to Parts Hangar, Inc.
© Copyright 2015 Integrated Publishing, Inc.
A Service Disabled Veteran Owned Small Business