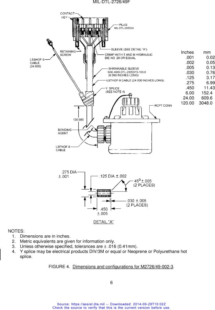
MIL-DTL-2726-49 Receptacle, Outlet, Triple, Electrical, 40 - Ampere, 450 - Volt, 60 Hertz, Alternating Current, 4 - Pole, Portable, Plastic Grounded \(Symbol Nos. 765.6, 765.7 And 765.8\)