
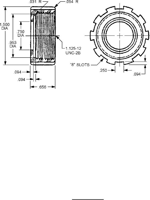
MIL-DTL-2726/52B
Inches
mm
.031
0.79
.094
2.39
.656
16.66
.750
19.05
.953
24.21
1.125
28.58
1.500
38.10
NOTES:
1. Dimensions are in inches.
2. Metric equivalents are given for information only.
3. Unless otherwise specified, tolerances are ± .010 (0.25mm).
4. Angular tolerances are ± 0°30'.
5. Threads are in accordance with FED-STD-H28/2.
6. Marking Part or Identifying Number (PIN): M19622/10-003 tube size and manufacturer's logo or
name in .125 inch high raised letters on face of cup (see MIL-S-19622).
7. Materials shall be in accordance MIL-S-19622.
FIGURE 2. Plug insulation cap.
4