
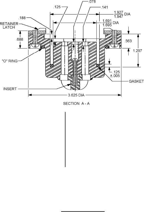
MIL-DTL-2726/9B
Inches
mm
Inches
mm
.016
0.14
1.094
27.79
.078
1.98
1.266
32.16
.094
2.39
1.297
32.94
.125
3.17
1.562
39.67
.141
3.58
1.691
42.95
.188
4.77
1.695
43.05
.190
4.83
1.927
48.95
.562
14.27
1.947
49.45
.625
15.87
2.625
66.67
.688
17.47
3.625
90.07
.875
22.22
NOTES:
1. Dimensions are in inches.
2. Metric equivalents are given for information only.
3. Unless otherwise specified, tolerances are ± .016 (0.41mm) and ± .5° on angles.
4. Part or Identifying Number (PIN): M2726/9-002, Symbol No. 758.2.
FIGURE 2. Receptacle (plastic body) - Continued.
3