
INCH-POUND
MIL-DTL-27434/36B
22 May 2008
SUPERSEDING
MIL-A-27434/36A
3 June 1964
DETAIL SPECIFICATION SHEET
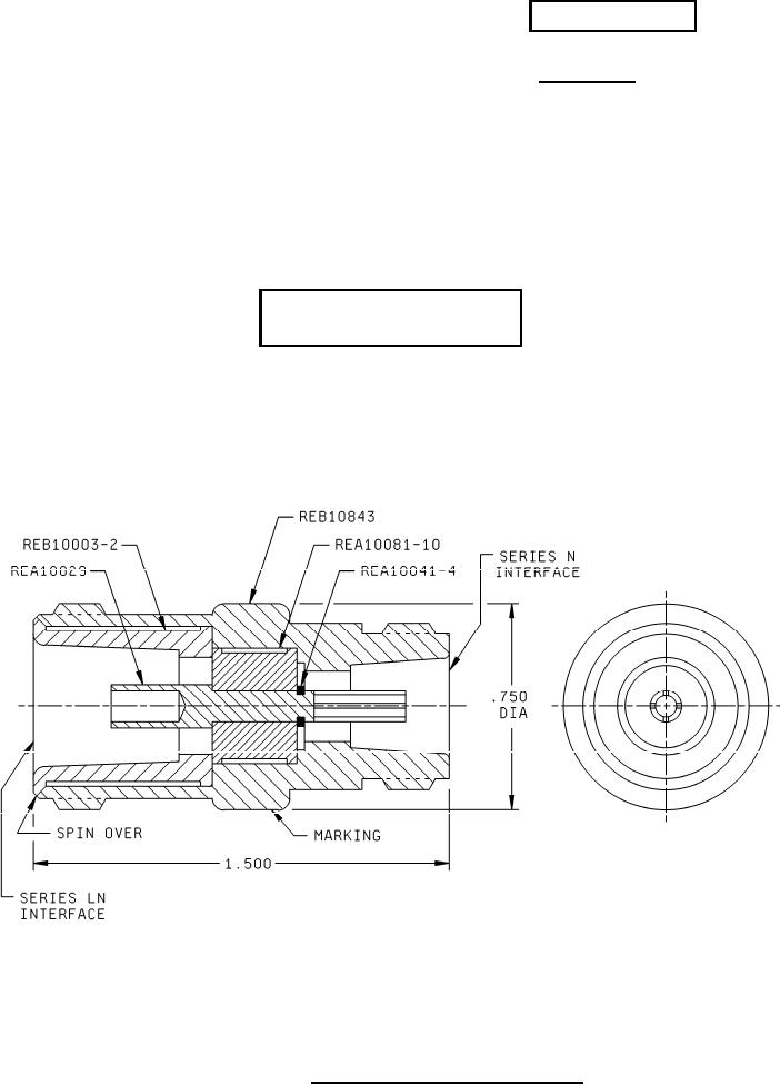
ADAPTER, CONNECTOR, COAXIAL, RADIOFREQUENCY,
BETWEEN SERIES, SERIES N TO SERIES LN
TYPE UG-108A/U
Inactive for new design after
19 February 1982
This specification is approved for use by all Departments
and Agencies of the Department of Defense
The requirements for acquiring the product described herein
shall consist of this specification sheet and MIL-DTL-27434.
Inches mm
.750 19.05
1.500 38.10
NOTES:
1. Dimensions are in inches.
2. Metric equivalents are given for information only.
3. Unless otherwise specified dimensional tolerances are ±.005 inches.
FIGURE 1. Type UG108A/U connector adapter.
AMSC N/A
FSC 5935
For Parts Inquires submit RFQ to Parts Hangar, Inc.
© Copyright 2015 Integrated Publishing, Inc.
A Service Disabled Veteran Owned Small Business