
MIL-DTL-28748D
4.7.23 Resistance to solvents (see 3.5.20). Connectors shall be tested in accordance with EIA-364-11. The solvents shall be
class 1. The connectors tested shall be fully assembled by normal assembly operations.
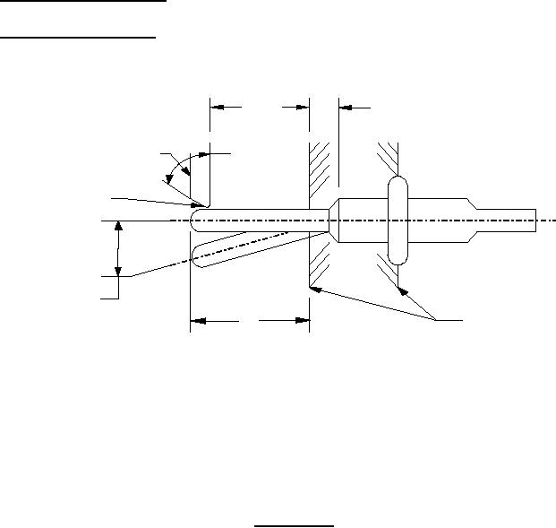
4.7.24 Contact pin strength (see 3.5.21). Nonremovable contacts shall be mounted in a suitable fixture and a force (see table VIII)
shall be applied to the end of the pin as shown on figure 8. The maximum rate of travel of the tool head of the testing machine shall
not exceed 1 inch per minute. The maximum loading time shall not exceed 1 minute. The permanent set shall be the difference
between the initial and the final position of the extreme pin tip, immediately after load removal and shall not exceed the limits
specified in 3.5.21.
.0 8 L
.0 3 0
M IN
30°
TO OL HEAD
50°
.0 0 5
R
.0 0 2
PERMANET SET
(.0 0 5 M A X )
F IX T U R E S H A L L
L
SUPPO RT CO NTACT
O N T H IS D IA M E T E R
Inches
mm
.002
0.051
.005
0.127
.030
0.762
.8
20.32
NOTES:
1. Dimensions are in inches.
2. Metric equivalents are given for general information only.
FIGURE 8. Contact strength.
26
For Parts Inquires submit RFQ to Parts Hangar, Inc.
© Copyright 2015 Integrated Publishing, Inc.
A Service Disabled Veteran Owned Small Business