
MIL-DTL-28748D
3.3.5.1 Contact retaining clip. The contact retaining clip shall be of a material which will assure compliance with the contact
retention requirements (see 3.5.4. Plastic contact retaining clips shall not be used.
3.3.5.2 Contact finish (solder type).
3.3.5.2.1 Overall finish (solder type). All parts of the contact shall be gold-plated in accordance with ASTM B488, type 2, code C,
1.25µm for the socket spring and 0.50 µm for the socket sleeve. Finish for pin and socket contacts shall be over a nickel underplate,
.000030 to .000150 inch thick (1.27 µm to 3.01 µm) in accordance with AMS-QQ-N-290. Silver shall not be used as an underplate.
3.3.5.2.2 Localized finish.
3.3.5.2.2.1 Contact mating area. The contact mating area shall be overall in accordance with ASTM B488 type 2, code C,
1.27 µm, over a nickel underplate .000050 to .000150 inch thick, (1.27 µm to 3.81 µmm) in accordance with AMS-QQ-N-290. The
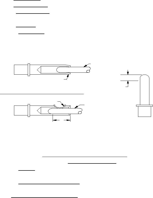
contact mating area is as specified on figure 1.
MAX DIA PIN PER
FIGURE 3A
AREA X (I.D.) - ZONE OF
TANGENCY +.02 MIN
+.000
E -.020
SOCKET CONTACTS WITH INTEGRAL PRESSURE MEMBERS
PRESSURE MEMBER SPRING
POINT B (O.D.) MAX DIA PIN
(PER FIGURE 3)
F
POINT C (O.D.)
E = LENGTH OF MAX ELECTRICAL CONTACT
(WIPING) PLUS .020 (0.51 mm) INCH
F = LENGTH OF MAXIMUM ELECTRICAL CONTACT WIPING
PLUS .020 (0.51 mm) INCH MINIMUM WIPE SHALL
BE EQUAL TO MAXIMUM E OF MATING PIN
ENGAGEMENT MINUS THE SPHERICAL RADIUS.
SOCKET CONTACTS WITH SEPARATE PRESSURE MEMBERS
FIGURE 1. Areas of application of localized finish.
3.3.5.2.2.2 Terminations. Terminations shall be gold in accordance with ASTM B488, type 2, code C, 1.27µm, class 1, over a
nickel underplate in accordance with AMS-QQ-N-290, class 2, .000050 to .000150 (1.27 µm to 3.01 µm) inch thick or tin-lead in
accordance with AMS-P-81728, .0001 inch minimum thickness (2.54 µm).
3.3.5.2.2.3 Nonfunctional areas (crimp and solder contacts). Any portion of the contact other than the contact mating area or
termination area shall have a nickel plating in accordance with AMS-QQ-N-290, .000050 to .000150 inch thick
(1.27 µm to 3.01 µm).
3.3.6 Protective shells, connector shields and accessories. Unless otherwise specified, protective shells, connector shields, and
other accessories shall be made of a high grade aluminum alloy conforming to AMS-QQ-A-250/8, temper H-32 or corrosion-resistant
steel conforming to ASTM A582, series 300 (nonmagnetic), or other material satisfactory to the Government. There shall be no
assembly of protective shells, connector shields or other accessories made of different materials than specified herein.
5
For Parts Inquires submit RFQ to Parts Hangar, Inc.
© Copyright 2015 Integrated Publishing, Inc.
A Service Disabled Veteran Owned Small Business