
INCH-POUND
MIL-DTL-28840/13F
14 November 2013
SUPERSEDING
MIL-DTL-28840/13E
23 October 2009
DETAIL SPECIFICATION SHEET
CONNECTORS, ACCESSORIES, ELECTRICAL, CIRCULAR, THREADED,
HIGH SHOCK, HIGH DENSITY, SHIPBOARD, PROTECTIVE COVER, RECEPTACLE
This specification is approved for use by all Departments
and Agencies of the Department of Defense.
The requirements for acquiring the product described herein
shall consist of this specification sheet and MIL-DTL-28840.
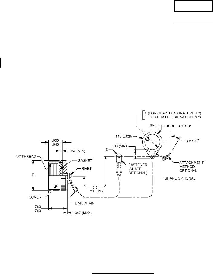
Inches
mm
.01
0.25
.025
0.64
.03
0.76
.047
1.19
.057
1.45
.115
2.92
.640
16.26
.650
16.51
.760
19.30
.780
19.81
.88
22.35
5.00
127.00
FIGURE 1. Dimensions and configurations.
AMSC N/A
FSC 5935
For Parts Inquires submit RFQ to Parts Hangar, Inc.
© Copyright 2015 Integrated Publishing, Inc.
A Service Disabled Veteran Owned Small Business