
INCH-POUND
MIL-DTL-55116/10B
11 December 2000
SUPERSEDING
MIL-C-55116/10A
2 May 1990
DETAIL SPECIFICATION SHEET
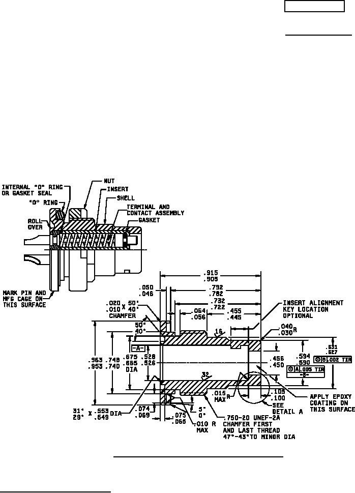
CONNECTOR, RECEPTACLE, SIX-PIN AUDIO,
SOLDER CUP SPRING TERMINALS, PANEL MOUNT, U-183 TYPE
This specification is approved for use by all Departments and Agencies of the Department of Defense.
The requirements for acquiring the product described herein
shall consist of this specification and MIL-C-55116.
FIGURE 1. Connector, receptacle, six-pin audio, panel mount.
AMSC N/A
1 of 3
FSC 5935
DISTRIBUTION STATEMENT A. Approved for public release; distribution is unlimited.