
MIL-DTL-55116/9C
VISUAL ALIGNMENT
INDICATOR (ORANGE)
4 PLACES
DETAIL A
SOLDER TERMINAL
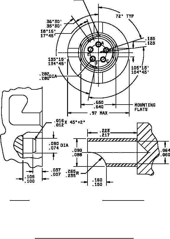
FIGURE 1. Connector, receptacle, five-pin audio, panel mount - Continued.
2
For Parts Inquires submit RFQ to Parts Hangar, Inc.
© Copyright 2015 Integrated Publishing, Inc.
A Service Disabled Veteran Owned Small Business