
MIL-DTL-55181/4D
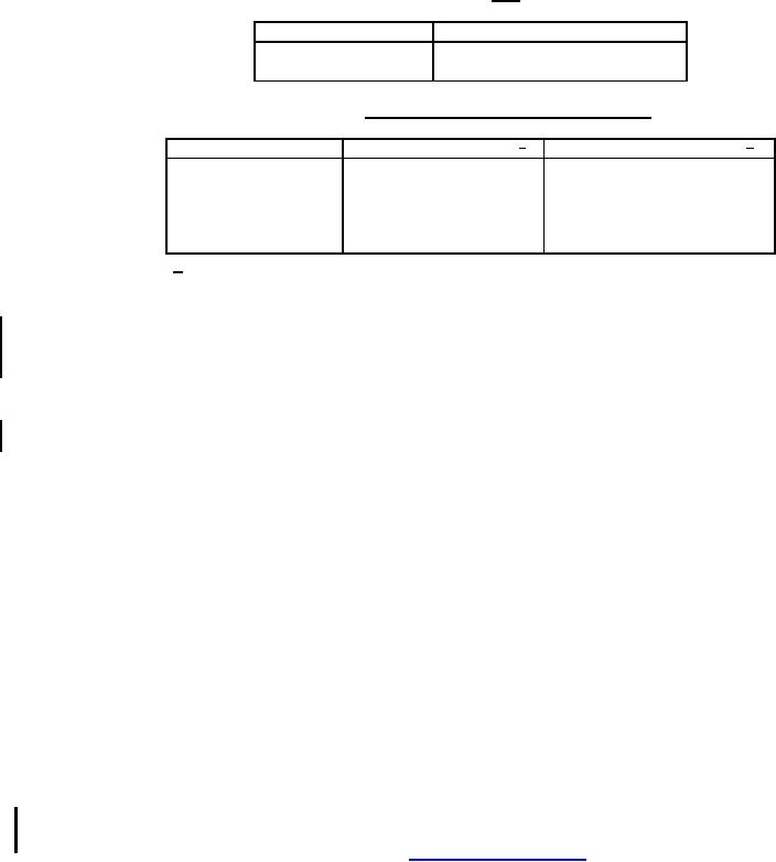
TABLE I. PIN.
PIN
M55181/4-01
Without grounding washer
M55181/4-01W
With grounding washer
TABLE II. Supersession and cross reference data.
Old type designator 1/
1/
PIN
Mating type designator
MW10M(M)A11
MW20F(M)A00
M55181/4-01
MW10M(M)A13
MW20F(M)A00
M55181/4-01
MW10M(M)A17
MW20F(M)A00
M55181/4-01
MW10M(M)A19
MW20F(M)A00
M55181/4-01
MW10M(M)A15
MW20F(M)A00
M55181/4-01
1/ This type designator shall not be referenced for procurement purposes.
Changes from previous issue. The margins of this specification are marked with vertical lines to indicate
where changes from the previous issue were made. This was done as a convenience only and the
Government assumes no liability whatsoever for any inaccuracies in these notations. Bidders and
contractors are cautioned to evaluate the requirements of this document based on the entire content
irrespective of the marginal notations and relationship to the last previous issue.
Referenced documents: In addition to MIL-DTL-55181, this document references the following:
SAE-AMS-2700
CONCLUDING MATERIAL
Custodians:
Preparing activity:
Army - CR
DLA - CC
Navy - EC
Air Force - 11
(Project 5935-2007-124)
DLA - CC
Review activity:
Air Force - 99
NOTE: The activities listed above were interested in this document as of the date of this document.
Since organizations and responsibilities can change, you should verify the currency of the information
above using the ASSIST Online database at https://assist.daps.dla.mil.
4