
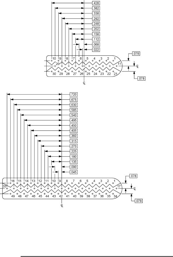
MIL-DTL-55302/68D
Inches
mm
Inches
mm
.022
0.56
.292
7.42
.045
1.14
.315
8.00
.068
1.73
.338
8.59
.078
1.98
.360
9.14
.090
2.29
.382
9.70
.112
2.84
.405
10.29
.135
3.43
.428
10.87
.158
4.01
.450
11.43
.180
4.57
.495
12.57
.202
5.13
.540
13.72
.225
5.72
.585
14.86
.248
6.30
.630
16.00
.270
6.86
.675
17.15
.720
18.29
NOTES:
1. Contacts 1, 20 and 21 (top of page) are identified on the front face of the connector and contacts 1, 10, 11, 20,
21 and 30 are identified on the rear face per the insert arrangement.
2. Contacts 1, 16 and 49 (bottom of page) are identified on the front face of the connector and contacts 1, 16, 17,
33, 34 and 49 are identified on the rear face per the insert arrangement.
FIGURE 2. Insert arrangement for .090 (2.29 mm) contact spacing connector (female engaging face).
2