
MIL-DTL-55302/73D
Inches
mm
Inches
mm
Inches
mm
Inches
mm
.075
1.91
.525
13.34
1.050
26.67
1.575
40.01
.106
2.69
.600
15.24
1.125
28.58
1.650
41.91
.150
3.81
.675
17.15
1.200
30.48
1.725
43.82
.225
5.72
.750
19.05
1.275
32.39
1.800
45.72
.300
7.62
.825
20.96
1.350
34.29
1.875
47.73
.375
9.53
.900
22.86
1.425
36.20
.450
11.43
.975
24.77
1.500
38.10
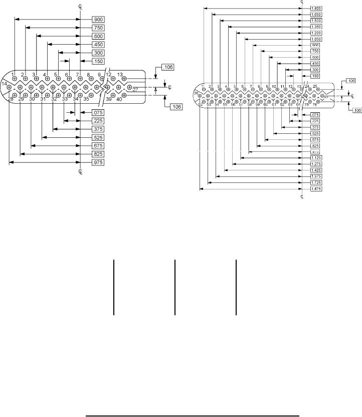
NOTES:
1. Contacts 1, 14 and 27 through 40 (bottom of page) are identified on the front and rear of the connector per the
insert arrangement.
2. Contacts 1 through 26 and 51 through 76 (top of page) are identified on the front and rear of the connector per
the insert arrangement.
FIGURE 2. Insert arrangement for .150 (3.81 mm) connector, (male engaging face).
3
For Parts Inquires submit RFQ to Parts Hangar, Inc.
© Copyright 2015 Integrated Publishing, Inc.
A Service Disabled Veteran Owned Small Business