
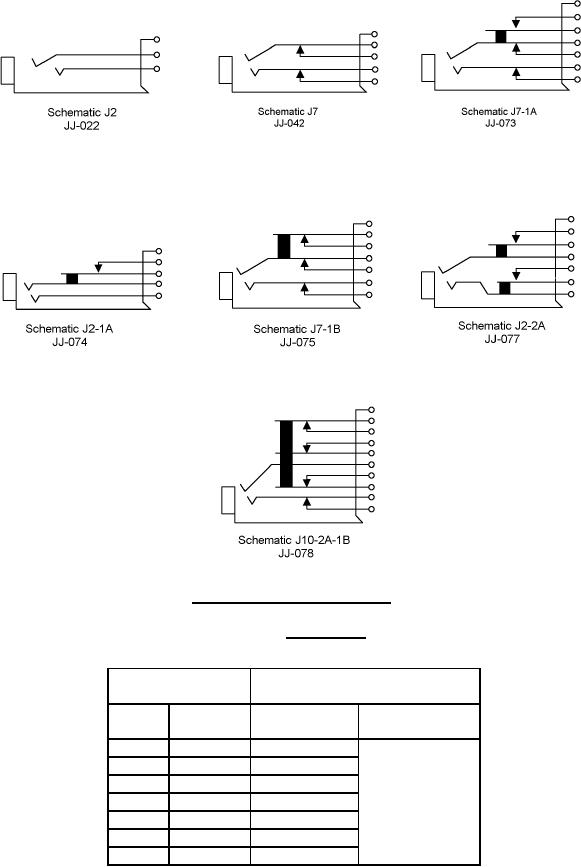
MIL-DTL-641/3E
FIGURE 1. Dimensions and configuration - Continued.
TABLE I. Dimensions.
Center to center dimensions for
multiple mounting panel
Type
Dimension In direction of At right angle to
A (max)
pileup (min)
pileup (min)
JJ-022
.562
.719
JJ-042
.562
.904
JJ-073
.750
.456
JJ-074
.750
.781
.922
JJ-075
.750
.781
JJ-077
.844
.781
JJ-078
.984
.781
2