
MIL-DTL-83502E
3.13 Vibration. When sockets are tested as specified in 4.8.10, there shall be no physical or
mechanical damage to the socket body contacts. During vibration there shall be no interruption in
continuity greater than 1 microsecond of the test circuit, which incorporates mated contacts. After the test,
the mounting hardware shall show no signs of loosening, fracture, or other deterioration, and the sockets
shall meet the contact resistance and contact withdrawal force requirements of 3.8 and 3.7, respectively.
3.14 Shock (specified pulse). When sockets are tested as specified in 4.8.11, there shall be no physical
damage to the socket. During the test there shall be no interruption in continuity greater than
1
microsecond of the test circuit, which incorporates mated contacts.
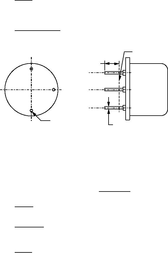
SEE NO TE 5
.100
(2.54)
IC
OR
DUMM Y
BO D Y
SEE NO TE 6
NO M INAL DIM EN SIO N AS SP ECIFIED
(SE E A PP LIC AB LE SLAS H SH EET )
NOTES:
1. Dimensions are in inches.
2. Metric equivalents are given for information only.
3. Contacts shall be plated gold or tin/lead the same as the contacts of the socket under test.
4. Modifications to the leads such as attaching wires are allowable as long as the area of the lead
engaging the socket is unmodified.
5. Minimum engagement length.
6. For pin configuration see individual specification sheets.
FIGURE 2. Mating test plug.
3.15 Durability. When sockets are tested as specified in 4.8.12, there shall be no evidence of cracking
or breaking. The sockets shall meet the contact resistance and contact withdrawal force requirements of
3.16 Thermal shock. When a socket with a suitable test plug (see figure 2) is tested as specified in
4.8.13, there shall be no evidence of cracking or crazing of the body or other physical damage to the
socket. The socket component shall be capable of mating and unmating without damage to either
component.
3.17 Humidity. When sockets are tested as specified in 4.8.14, insulation resistance shall be no less
than 300 megohms.
7
For Parts Inquires submit RFQ to Parts Hangar, Inc.
© Copyright 2015 Integrated Publishing, Inc.
A Service Disabled Veteran Owned Small Business