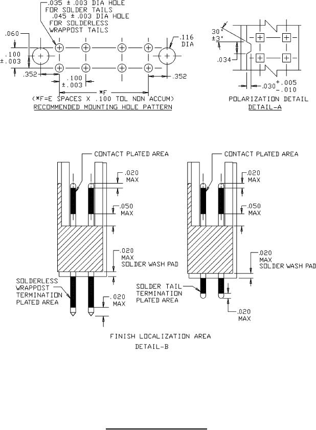
MIL-DTL-83503-25 Connectors, Electrical, Flat Cable, Nonenvironmental Four Wall Header, Straight Thru \(.100 Spacing\) With Polarizing Feature, Solderless Wrappost Or Pwb Termination