
INCH-POUND
MIL-DTL-83505/8B
17 May 2004
SUPERSEDING
MIL-S-83505/8A
12 September 1994
DETAIL SPECIFICATION SHEET
SOCKETS (LEAD, ELECTRONIC COMPONENTS) (TYPE I, SOLDERLESS WRAP)
LOW INSERTION FORCE (LIF)
This specification is approved for use by all Departments and Agencies of the Department of Defense.
The requirements for acquiring the product described herein shall consist of this specification sheet and
MIL-DTL-83505.
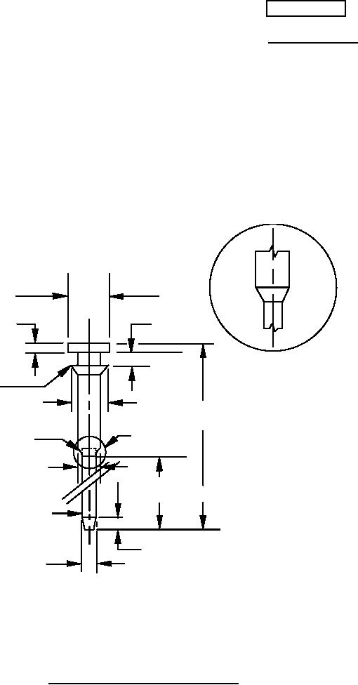
C
DIA
.028
.030
DETAIL A
(OPTIONAL DESIGN)
RETENTION MEANS
(DESIGN OPTIONAL) D DIA
A
(OVERALL LENGTH)
COLLAR LEFT
DETAIL A
FROM MACHINED
STOCK
E DIA
"B"
(USEABLE WIRE WRAP LENGTH)
WRAPPOST TO BE
FREE OF BURRS
.035 MAX
.025 SQ.
FIGURE 1. Socket, lead, (type I) solderless wrap LIF.
AMSC N/A
FSC 5935
For Parts Inquires submit RFQ to Parts Hangar, Inc.
© Copyright 2015 Integrated Publishing, Inc.
A Service Disabled Veteran Owned Small Business