
MIL-DTL-83513/5H
Inches
mm
Inches
mm
.003
0.08
.118
3.00
.005
0.13
.121
3.07
.02
0.51
.140
3.56
.062
1.57
.160
4.06
.088
2.24
.187
4.75
.098
2.49
.193
4.90
.108
2.74
.200
5.08
.110
2.79
.240
6.10
.112
2.84
.287
7.29
.116
2.95
.452
11.48
.111
2.82
.610
15.49
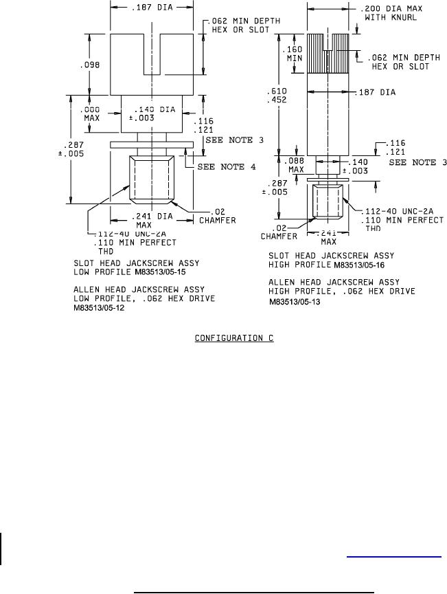
NOTES:
1. Dimensions are in inches.
2. Metric equivalents are given for information only.
3. Bottom of E ring slot.
4. E ring PIN: R271NAC0012NN519HNQA1 or R271NAC0012NN519HNQD1 in accordance with
ASME-B18.24. (Copies of these documents are available online at https://www.asme.org or from
the ASME International, Three Park Avenue, New York, NY 10016-5990.)
FIGURE 4. Dimensions and configuration (100 cavity connector) - Continued.
6
For Parts Inquires submit RFQ to Parts Hangar, Inc.
© Copyright 2015 Integrated Publishing, Inc.
A Service Disabled Veteran Owned Small Business