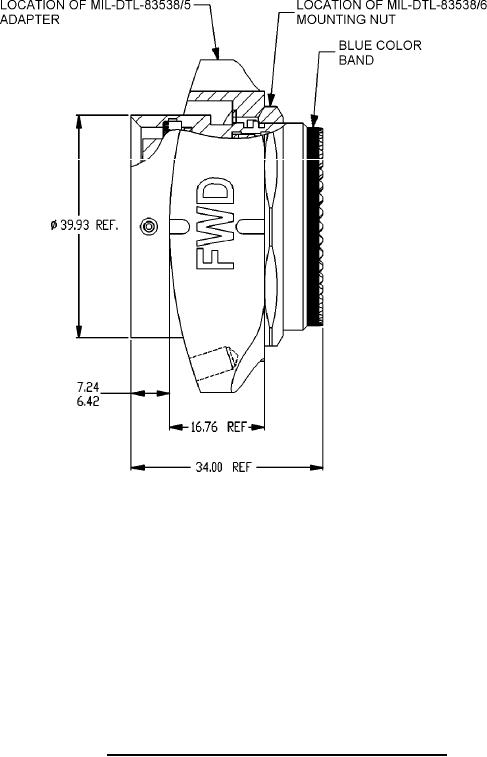
MIL-DTL-83538/1D
mm
Inches
mm
Inches
6.42
0.106
34.00
1.34
7.24
0.285
39.93
1.572
16.76
0.660
NOTES:
1. Dimensions are in millimeters.
2. Inch equivalents are given for information only.
FIGURE 2. Store receptacle with adapter plate types 1 and 2.
4