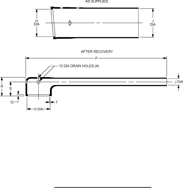
MIL-DTL-83723-27 Connectors, Electrical, Backshell, With Heat-Shrinkable Strain-Relief Boot \(Straight And Right Angle\), Threaded Coupling