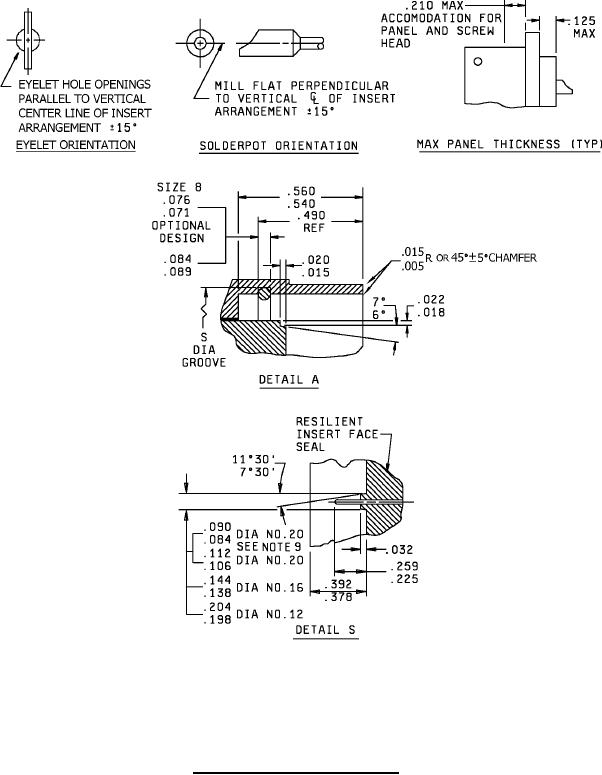
MIL-DTL-83723-79 Connectors, Electrical, \(Circular, Environment Resisting\), Receptacle, \(Flange Mount, Bayonet Coupling, Solder Pin Contact\), \(Series Iii, Classes H, J, L, P And Y\)