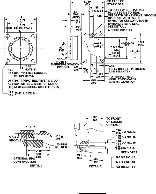
MIL-DTL-83723-82 Connectors, Electrical, \(Circular, Environment Resisting\), Receptacle, \(Flange Mount, Threaded Coupling, Crimp Socket Contact\), \(Series Iii, Classes A, G, K, M, N, R, S, T, W And Z\)