emilspec
An Integrated Publishing, Inc. Site
eMilSpec
An Integrated Publishing Website
MIL-DTL-9177-3 Connector, Audio, Airborne, Jack, Cable, 4 Contact
Pages
1
-
2
-
3
-
4
-
5
MIL-DTL-9177/3C(USAF)
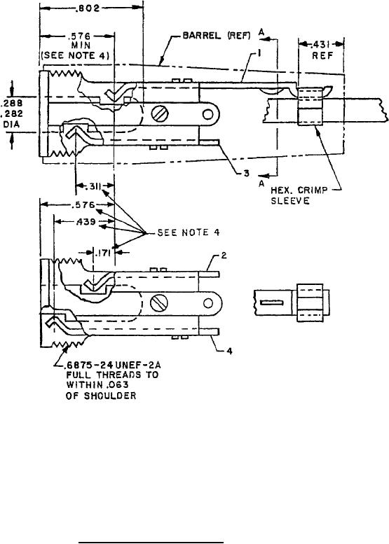
FIGURE
1. Dimensions and configurations Continued.
2