
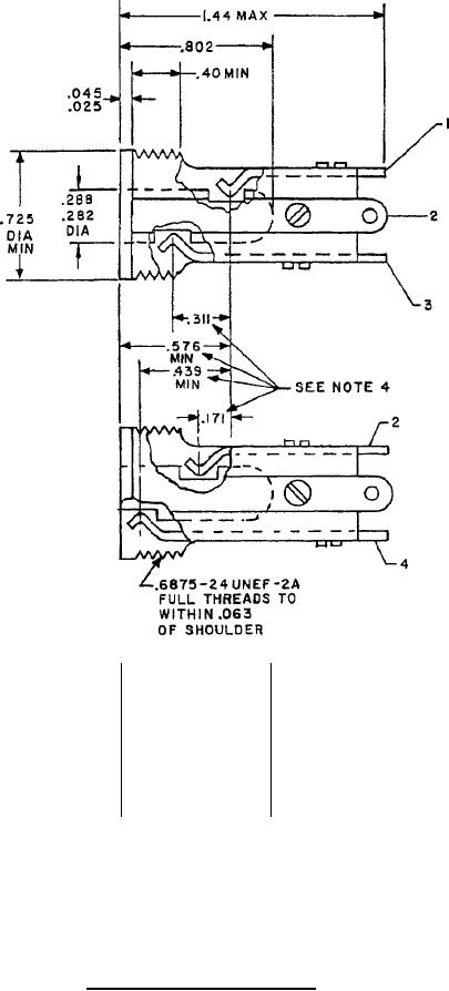
MIL-DTL-9177/4C(USAF)
Inche
mm
Inches
mm
Inches
mm
s
17.65
.695
7.16
.282
0.64
.025
18.42
.725
7.32
.288
0.79
.031
20.37
.802
7.90
.311
1.14
.045
23.62
.930
10.2
.40
1.60
.063
24.13
.950
11.15
.439
2.41
.095
36.6
1.44
14.63
.576
4.34
.171
NOTES:
1. Dimensions are in inches.
2. Metric equivalents are given for general information only.
3. Unless otherwise specified, tolerance is ± .005 (0.13 mm).
4. If the jack passes the electrical continuity test using the test plug, this will be accepted as evidence
that the jack meets the contact location requirements.
5. All undimensioned pictorial representations are for reference purposes only.
FIGURE 1. Dimensions and configurations Continued.
2