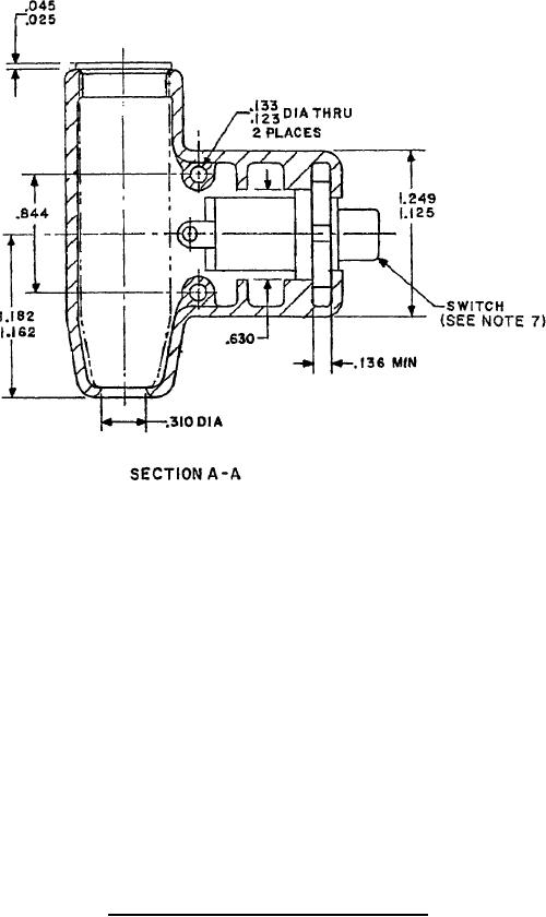
MIL-DTL-9177-5 Connector, Audio, Airborne, Jack, Switch, 4 Contact