
MIL-PRF-31031/1B
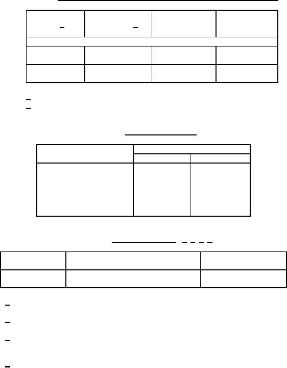
TABLE l. Part or Identifying Number (PIN) cross-reference and dimensions.
Applicable cable
Inches
PIN 1/
and group 2/
Dimensions
(millimeters)
maximum
M31031/01
M17/
Category A Field serviceable (no special tools required)
A**01
113-RG316
A
1.4
group II
(35.56 mm)
A**02
128-RG400
A
1.4
group VI
(35.56 mm)
1/ These connectors have captivated center contacts.
2/ The latest version of the cable is applicable.
TABLE II. Cable retention force.
Pounds (minimum)
Cable dielectric
outer diameter
Single braid
Double braid
Inches, maximum (mm)
N/A
10
.036 (0.91)
N/A
20
.067 (1.70)
N/A
30
.110 (2.79)
45
40
.122 (3.10)
TABLE III. Group qualification. 1/ 2/ 3/ 4/
Submission and qualification of any
Qualified the following
Group
of the following connectors
connectors
M31031/01A**01
1
M31031/01A**02
M31031/01A**02
1/ Individual connectors other than those listed are self-qualifying.
2/ Qualification of connectors qualifies connectors of the same body materials only.
3/ Qualification of connectors qualifies connectors of the same environmental construction
only.
4/ Changes in plating (body or center contact) shall require the corrosion and contact
resistance tests be performed.
* Options as defined in the PIN construction.
3
For Parts Inquires submit RFQ to Parts Hangar, Inc.
© Copyright 2015 Integrated Publishing, Inc.
A Service Disabled Veteran Owned Small Business