
MIL-PRF-39012/2H
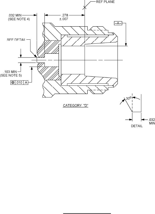
Inches
mm
.007
0.18
.010
0.25
.032
0.81
.103
2.62
.278
7.06
NOTES:
1. Dimensions are in inches.
2. Metric equivalents are given for information only.
3. Slot design optional.
4. Chamfer is optional.
5. Dimension shall meet connector performance requirements.
FIGURE 2. Category D captivation detail.
3
For Parts Inquires submit RFQ to Parts Hangar, Inc.
© Copyright 2015 Integrated Publishing, Inc.
A Service Disabled Veteran Owned Small Business