INCH-POUND
W-C-596/1038
20 January 2012
SUPERSEDING W-C-596/103A
24 September 2001
FEDERAL SPECIFICATION SHEET
CONNECTORS, RECEPTACLE, ELECTRICAL, SPECIAL PURPOSE, SINGLE, GROUNDING, 2 POLE, 3 WIRE, 30 AMPERES, 277 VOLTS, 50/60 HERTZ
Inactive for new design after 20 January 2012.
This specification is approved for use by all
Departments and Agencies of the Department of Defense.
The requirements for acquiring the product described herein shall consist of this specification sheet and W-C-596.

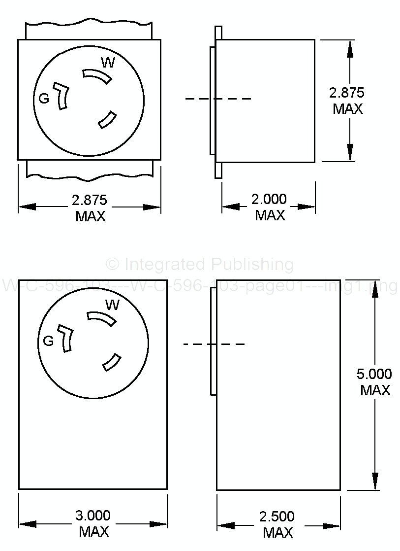
NOTES:
1. Dimensions are in inches.
2. Metric equivalents are given for information only.
3. Undimensioned pictorials are for reference purposes only.
4. For mounting dimensions, see W-C-596 (single receptacle with break-off ears).
FIGURE 1. Configuration and dimensions.
AMSC N/A FSC 5935
For Parts Inquires submit RFQ to Parts Hangar, Inc.
© Copyright 2015 Integrated Publishing, Inc.
A Service Disabled Veteran Owned Small Business