
INCH-POUND
MIL-DTL-12883/45D
18 February 2003
SUPERSEDING
MIL-PRF-12883/45C
28 June 1996
DETAIL SPECIFICATION SHEET
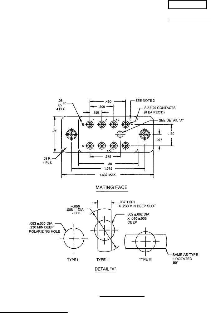
SOCKETS, PLUG-IN ELECTRONIC COMPONENTS, FOR RELAYS, FOR 2-POLE, 5 AMPERES
(MIL-PRF-6106 AND MIL-PRF- 83536)
This specification is approved for use by all Departments and Agencies of the Department of Defense.
The requirements for acquiring the product described
herein shall consist of this specification andMIL-DTL-12883.
(-01, -02, -03)
FIGURE 1. Socket configurations.
AMSC N/A
1 of 9
FSC 5935
DISTRIBUTION STATEMENT A. Approved for public release; distribution is unlimited.