
INCH-POUND
MIL-DTL-12883/52B
18 February 2003
SUPERSEDING
MIL-PRF-12883/52A
28 June 1996
DETAIL SPECIFICATION SHEET
SOCKETS AND ACCESSORIES FOR PLUG-IN ELECTRONIC COMPONENTS SOCKET ASSEMBLY
FOR RELAYS, 2, 3, AND 4-POLE, TRACK MOUNT
(MIL-PRF-6106, MIL-PRF- 83536, AND MIL-PRF-83726)
This specification is approved for use by all Departments and Agencies of the Department of Defense.
The requirements for acquiring the product described herein
shall consist of this specification and MIL-DTL-12883.
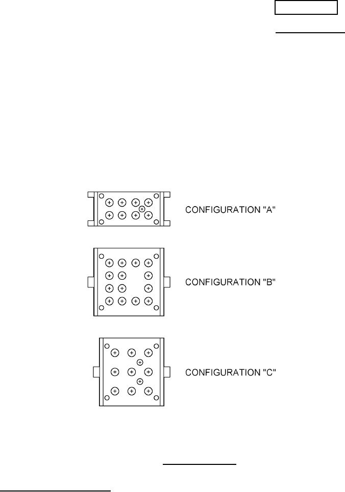
FIGURE 1. Socket configurations.
AMSC N/A
1 of 8
FSC 5935
DISTRIBUTION STATEMENT A. Approved for public release; distribution is unlimited.
For Parts Inquires submit RFQ to Parts Hangar, Inc.
© Copyright 2015 Integrated Publishing, Inc.
A Service Disabled Veteran Owned Small Business