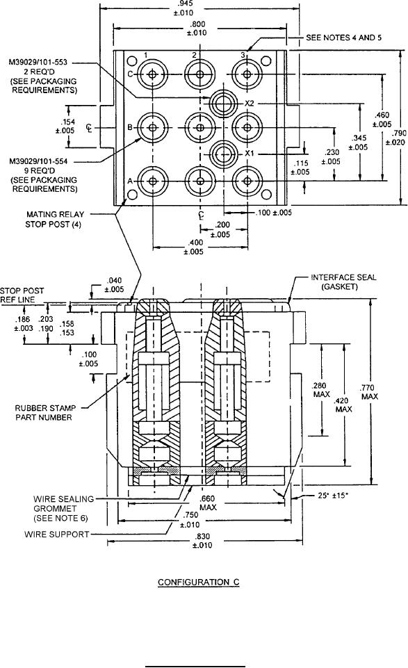
MIL-DTL-12883-52 Sockets And Accessories For Plug-In Electronic Components Socket Assembly For Relays, 2,3, And 4-Pole, Track Mount \(Mil-Prf-6106, Mil-Prf-83536, And Mil-Prf-83726\)