
MIL-DTL-24231/13E(SH)
M24231/13-001 7-CONDUCTOR - SYM NO. 737.1 1
M24231/13-002 7-CONDUCTOR FOR MSS-6 OR
2
RCPT,
7SS-2 CABLE - SYM NO. 737.6
ASSY
M24231/13-003 7-CONDUCTOR FOR FSS-2 CABLE - SYM NO. 737.9
3
M24231/13-004 9-CONDUCTOR FOR SHIELDED CABLE 4
RING, RETAINING 18
M24231/7-041
GASKET, O-RING 12
SAE-AS28775-220
CAP,
15
M24231/13-011
NYLON INSERT
10
M24231/5-077
BODY, RCPT,
5
M24231/13-010
GASKET, O-RING 11
SAE-AS28775-213
PIN, GUIDE
13
M24231/12-012
ASSEMBLY, INSERT, MOLDED (7-COND) M24231/7-010 7
ASSEMBLY, INSERT, MOLDED (7-COND) M24231/13-020
6
FOR 7SS-2 CABLE
ASSEMBLY, INSERT, MOLDED (7-COND) M24231/13-030
8
FOR SHIELDED CABLE
ASSEMBLY, INSERT, MOLDED (9-COND) M24231/13-040
9
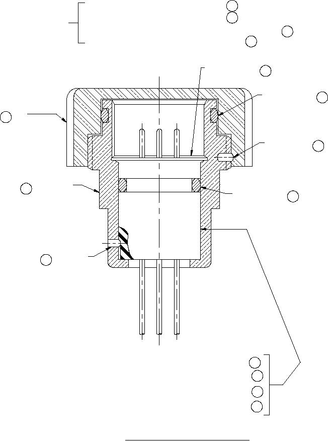
FIGURE 1. Connector, multi-pin receptacle typical.
2
For Parts Inquires submit RFQ to Parts Hangar, Inc.
© Copyright 2015 Integrated Publishing, Inc.
A Service Disabled Veteran Owned Small Business