
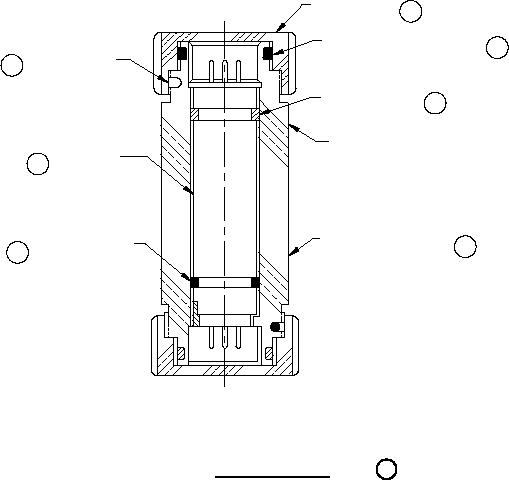
MIL-DTL-24231/17E(SH)
9-CONDUCTOR ADAPTER
M24231/17-001 SYM. NO. 1116.1
CAP (2 REQD)
3
M24231/13-011
GASKET, O-RING
5
(2 REQD) SAE-AS28775-220
NYLON INSERT
6
(2 REQD)
M24231/5-077
RETAINING RING 8
M24231/7-041
STAMP OR ENGRAVE
ON THIS END "HIGH
ASSEMBLY,
7
PRESSURE END"
INSERT, MOLDED
M24231/17-020
ASSEMBLY, ADAPTER
GASKET, O-RING
2
4 (2 REQD)
BODY M24231/17-010
SAE-AS28775-213
1
FIGURE 1. Connector, adapter.
2
For Parts Inquires submit RFQ to Parts Hangar, Inc.
© Copyright 2015 Integrated Publishing, Inc.
A Service Disabled Veteran Owned Small Business