
MIL-DTL-24308G
APPENDIX A
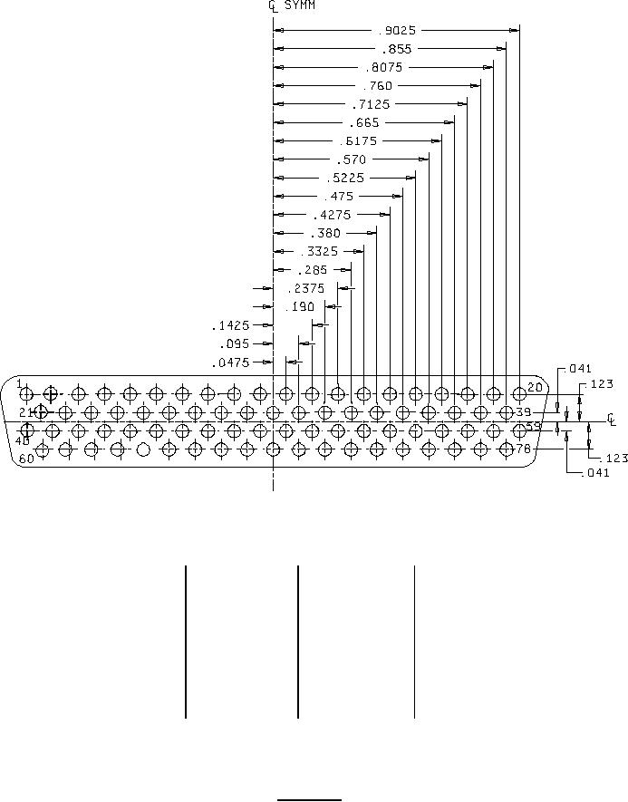
ARRANGEMENT 2
78 size 22D contacts
Inches
mm
Inches
mm
Inches
mm
Inches
mm
.041
1.04
.218
5.54
.435
11.05
.707
17.96
.0475
1.206
.224
5.69
.475
12.06
.7125
18.098
.055
1.40
.2375
6.032
.489
12.42
.760
19.30
.095
2.41
.272
6.91
.5225
13.272
.761
19.33
.109
2.77
.285
7.24
.544
13.82
.8075
20.510
.112
2.84
.326
8.28
.570
14.48
.815
20.70
.123
3.12
.3325
8.446
.598
15.19
.855
21.72
.1425
3.620
.380
9.65
.6175
15.684
.870
22.10
.163
4.14
.381
9.68
.652
16.56
.9025
22.924
.190
4.83
.4275
10.858
.665
16.89
NOTES:
1. Dimensions are in inches.
2. Metric equivalents are given for information only.
FIGURE A-5. Shell size 5 - Continued.
35
For Parts Inquires submit RFQ to Parts Hangar, Inc.
© Copyright 2015 Integrated Publishing, Inc.
A Service Disabled Veteran Owned Small Business