
MIL-DTL-2726/11C
NOTES:
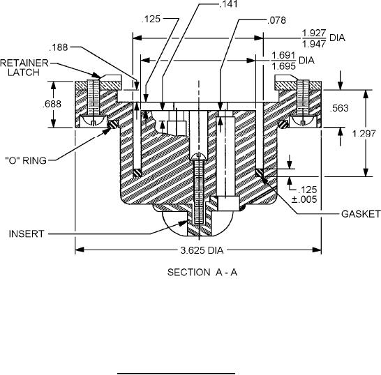
1. Dimensions are in inches.
2. Metric equivalents are given for information only.
3. Unless otherwise specified, tolerances are ± .016 (0.41mm) and ± .5° on angles.
4. PIN: M2726/11-002.
FIGURE 2. Receptacle (plastic body) - Continued.
REQUIREMENTS
Dimensions and configurations: See figures 1 and 2.
Effectiveness of enclosure: Watertight in accordance with MIL-STD-108 when mounted in a
suitable enclosure.
Material: Housing - optional - polyamide (nylon) or metal.
Receptacle insulation and cap - in accordance with ASTM-D5948 type MAI-60.
Contacts - in accordance with ASTM-B441 number copper alloy 175, HT temper.
Contact hardness: Minimum of Rockwell 80F.
Mating plug: MIL-DTL-2726/5, PIN M2726/ 5-001.
Cap assembly: MIL-DTL-2726/13, PIN M2726/13-001.
Design: Housing and insulation may be a one-piece molded unit.
3
For Parts Inquires submit RFQ to Parts Hangar, Inc.
© Copyright 2015 Integrated Publishing, Inc.
A Service Disabled Veteran Owned Small Business