
INCH-POUND
MIL-DTL-2726/2C
14 February 2006
SUPERSEDING
MIL-R-2726/2B(SH)
3 July 1986
DETAIL SPECIFICATION SHEET
RECEPTACLE, PLUG, ELECTRICAL, 3 - PIN GROUNDED,
50 - AMPERE, 250 - VOLT, DIRECT CURRENT (SYMBOL NO. 716.1)
Inactive for new design after 28 June 1999.
This specification is approved for use by all Departments and Agencies of the Department of Defense.
The requirements for acquiring the product described herein shall consist of this
specification sheet and MIL-DTL-2726.
SH 9072
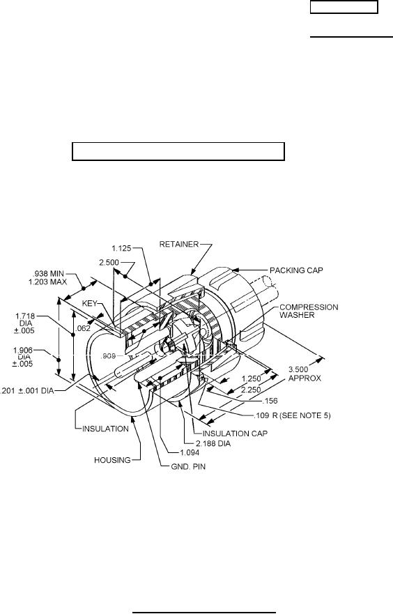
NOTES:
1. Dimensions are in inches.
2. Metric equivalents are given for information only.
3. Unless otherwise specified, tolerances are ± .016 (0.41mm) and ± .5° on angles.
4. Supersedes: Drawing 9000-S6202-73882, pc 29, symbol 716.
5. See detail "A" on MIL-DTL-2726/13.
FIGURE 1. Dimensions and configurations.
AMSC N/A
FSC 5935