
MIL-DTL-2726/37G
Inches
mm
Inches
mm
28.57
1.125
0.02
.001
30.56
1.203
0.13
.005
31.57
1.250
0.41
.016
43.64
1.718
1.57
.062
48.41
1.906
2.77
.109
55.58
2.188
3.96
.156
57.15
2.250
5.10
.201
63.50
2.500
10.31
.406
88.90
3.500
11.13
.438
23.83
.938
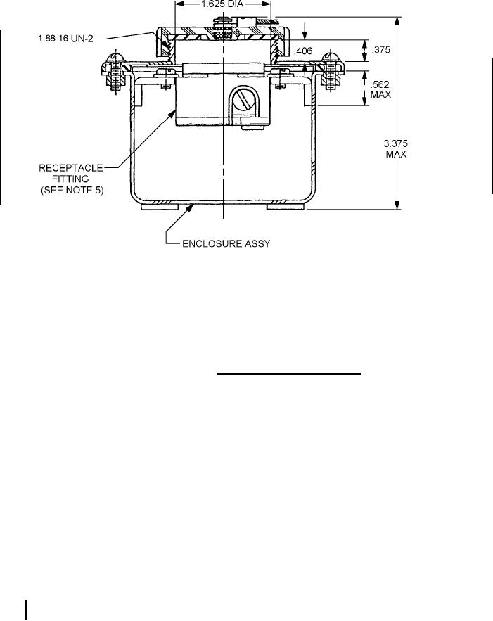
NOTES:
1. Dimensions are in inches.
2. Metric equivalents are given for information only.
3. Unless otherwise specified, tolerances are ± .016 (0.41mm).
4. Supersedes: Drawing 9000-S6202-74456, symbol 1099.
5. Part or Identifying Number (PIN) M2726/37-001-1.
FIGURE 1. Dimensions and configurations Continued.
REQUIREMENTS:
Dimensions and configuration: See figure 1.
Effectiveness of enclosure: Watertight in accordance with MIL-STD-108.
Receptacle: Shall be in accordance with Industry No. 5284, except that the ground contact of the
receptacle shall be nickel-plated.
Mating plug: MIL-DTL-2726/38, PIN M2726/38-001 (watertight) or plug
in accordance with UL817, Standard for Cord Sets and Power-Supply Cords.
Caution, evaluate UL817 for particular application.
Safety cable: Stainless steel aircraft cable vinyl covering with wire terminal .031 inch 3 X 7, barrel
to suit OD of plastic covered wire. Crimp on both ends, copper or copper alloy
construction of type WT to be pressed from one piece seamless tubing.
Enclosure assembly: MIL-E-24142/9, PIN M24142/9-001.
2